上报上级部门定价范围内定调价的审批
012645447-QT-009
汾阳市发展和改革局权力和责任清单 |
||||||||
权力清单 |
责任清单 |
备注 |
||||||
职权类别 |
职权编码 |
职权名称 |
职权依据 |
责任事项 |
追责情形 |
追责依据 |
追责形式 |
|
其他权力 |
012645447-QT-009 |
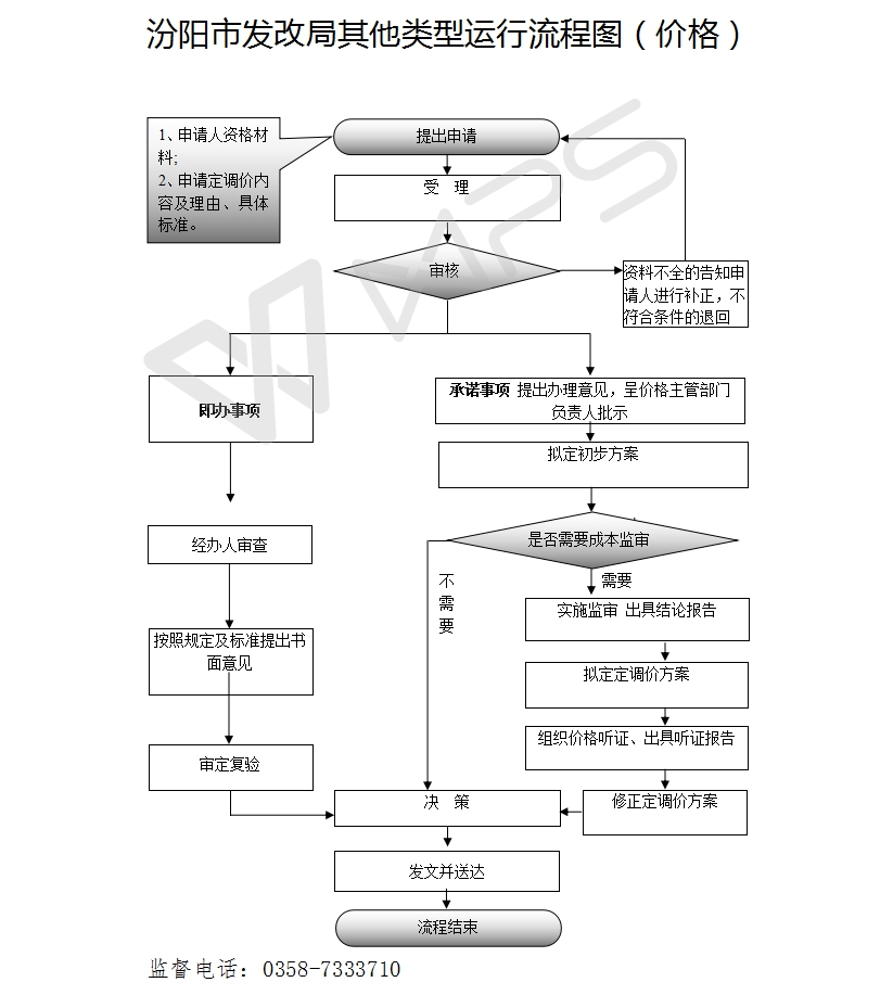
上报上级部门定价范围内定调价的审批 |
【法律】《中华人民共和国价格法》第二十条第三款 |
1、受理审核阶段责任:公示依法应当提交的材料;一次性告知补正材料;依法受理或不予受理(不予受理的应当告知申请人补充和完善资料再次提交申请),审核资料是否属省级批准的政府定价项目、资料是否齐全; 2、发文呈报阶段责任:在5个工作日内将有关上报资料呈报上级部门; 3、批复发文阶段责任:上级部门批准后,3个工作日内转发批文。 |
1、对符合受理条件而不予受理或不能一次性告知和说明所需材料的; |
【法律】《中华人民共和国价格法》第四十六条 |
一、行政处理 1、诫勉谈话或者责令书面检讨; |
|

